Блок предохранителей и реле в салоне Лада Калина 2
Блок расположен в левой части панели приборов под рулем. Для доступа к блоку потяните за нижний левый угол крышки и освободите левую точку запирания, затем среднюю и две правые точки запирания. После чего освободите верхние точки запирания и снимите крышку.
Схема предохранителей Лада Калина 2
В таблице указан набор предохранителей для максимальной комплектации исполнения «люкс» (в зависимости от набора опций отдельные предохранители из данного набора в комплектации «Норма» могут не использоваться).
| Номер и сила тока* | Комплектация «Стандарт» | Комплектация «Норма» и «Люкс» |
| F1 (15А) | Катушки зажигания, Форсунки, Контроллер системы управления двигателем | |
| F2 (10/30А) | Дневные ходовые огни | Питание центрального блока кузовной электроники, Модуль двери водителя. |
| F3 (10/15А) | Аварийная сигнализация | Питание контроллера АКП, Привод управления АКП. |
| F4 (15А) | Контроллер системы надувных подушек безопасности | |
| F5 (7,5А) | Клемма 15 приборов | |
| F6 (7,5А) | Свет заднего хода | Свет заднего хода, Контроллер управления автоматической коробкой переключения передач |
| F7 (7,5А) | Клапан продувки адсорбера, ДМРВ/Датчик давления, ДК | Клапан продувки адсорбера, ДМРВ/Датчик давления, Датчик фаз, ДК. |
| F8 (7,5А/-) | Указатели поворота | Резерв |
| F9 (5А) | Габаритные огни правого борта. | |
| F10 (5А) | Габаритные огни левого борта, Подсветка приборов и клавиш, Фонари освещения номерного знака, Плафон освещения багажника и вещевого ящика. | |
| F11 (5А) | Задние ПТФ. | |
| F12 (10А) | Ближний свет и питание электрокорректора правого борта. | |
| F13 (10А) | Ближний свет и питание электрокорректора левого борта. | |
| F14 | Резерв | |
| F15 (10А) | Омыватель заднего стекла, Очиститель заднего стекла | |
| F16 (-/5А) | Резерв | Модуль двери водителя |
| F17 | Резерв | Резерв |
| F18 | Резерв | Резерв |
| F19 (20А/-) | Блокировка двери | Резерв |
| F20 | Резерв | |
| F21 (10А) | Дальний свет, правая фара | |
| F22 (10А) | Дальний свет, левая фара | |
| F23 (-/10А) | Резерв | Правая противотуманная фара |
| F24 (-/10А) | Резерв | Левая противотуманная фара |
| F25 (15А) | Обогрев передних сидений | |
| F26 (5А) | Блок управления антиблокировочной системой тормозов | |
| F27 (15А) | Прикуриватель | |
| F28 (15А) | Топливный насос | |
| F29 (20А) | Омыватель ветрового стекла | Омыватель ветрового стекла, Центральный блок кузовной электроники |
| F30 | Резерв | |
| F31 (-/7,2А) | Резерв | Муфта компрессора кондиционера, Контроллер системы автоматического управления климатической установкой |
| F32 (7,5А) | Сигналы торможения, Плафон освещения салона | |
| F33 (25А) | Блок управления антиблокировочной системой тормозов | |
| F34 (5А) | Комбинация приборов, Диагностический разъем | |
| F35 (-/10А) | Резерв | Центральный блок кузовной электроники |
| F36 (10А) | Звуковой сигнал | |
| F37 (10А) | Радиоаппарат/Мультимедийная система | |
| F38 | Резерв | |
| F39 | Резерв | |
| F40 | Резерв | |
| F41 | Резерв | |
| F42 (30А/-) | Электростеклоподъемники | Резерв |
| F43 (-/50А) | Резерв | Контроллер АМТ |
| F44 (30А) | Электровентилятор отопителя | Электровентилятор отопителя, Контроллер системы автоматического управления климатической установкой |
| F45 (25А) | Обогрев заднего стекла | |
| F46 | Резерв | |
* — первое значение для комплектации «стандарт», второе для «норма» и «люкс».
Предохранители, расположенные в монтажном блоке салона автомобиля с функцией «ЭРА-ГЛОНАСС» (в вариантном исполнении):
| № | Сила тока | Защищаемые цепи |
| F1 | 15A | Реле электровентилятора радиатора минимальной скорости К18 (в исполнении с кондиционером или климатической установкой) |
| Реле электровентилятора радиатора максимальной скорости К4 | ||
| Реле муфты компрессора кондиционера К10 (в исполнении с кондиционером или климатической установкой) | ||
| Контроллер системы управления двигателем | ||
| Форсунки цилиндров | ||
| Катушки зажигания (для 16-клап. ДВС) | ||
| F2 | 7.5A | Клапан заслонки впускной трубы (для 16-клап. ДВС 21127) |
| Клапан продува адсорбера | ||
| Датчики кислорода | ||
| Датчик фаз (для 16-клап. ДВС) | ||
| Датчик массового расхода воздуха (для 8-клап. ДВС или 16-клап. ДВС 21126) | ||
| Селектор АМТ (в исполнении с контроллером АМТ) | ||
| Блок управления системой контроля давления в шинах (кл. 30) (для а/м ЕВРО-6) | ||
| F3 | 5A | Контроллер антиблокировочной системы тормозов / Контроллер системы курсовой устойчивости |
| F4 | 15A | Контроллер управления системой надувных подушек безопасности |
| F5 | 7.5A | Реле стартера К2 / Контроллер автоматической коробки передач |
| Разгрузочное реле выключателя зажигания К1 | ||
| Реле обогрева заднего стекла К6 | ||
| Реле обогрева сидений К13 (в вариантном исполнении) | ||
| Реле обогрева ветрового стекла К14 (в вариантном исполнении) | ||
| Реле топливного насоса К12 | ||
| Контроллер системы управления двигателем | ||
| Аудиосистема | ||
| Контроллер электроусилителя рулевого управления | ||
| Переключатель стеклоочистителя | ||
| Центральный блок кузовной электроники (в вариантном исполнении) | ||
| Терминальный блок «ЭРА-ГЛОНАСС» | ||
| Выключатель педали сцепления (для механической коробки передач) | ||
| Выключатель педали тормоза | ||
| Комбинация приборов | ||
| Блок управления системой блокировки дверей (в вариантном исполнении) | ||
| Выключатель блокировки двери водителя | ||
| Выключатель кондиционера (в вариантном исполнении) | ||
| Датчик скорости автоматической коробки передач (в вариантном исполнении) | ||
| Переключатель режимов автоматической коробки передач (в вариантном исполнении) | ||
| Контроллер АМТ (в вариантном исполнении) | ||
| Блок управления системой контроля давления в шинах (для а/м ЕВРО-6) | ||
| F6 | 7.5A | Свет заднего хода |
| Указатели поворота | ||
| Блок управления системой парковки (в вариантном исполнении) | ||
| F7 | 10A | Дальний свет правого борта |
| F8 | 10A | Дальний свет левого борта |
| F9 | 5A | Габаритные огни правого борта |
| F10 | 5A | Габаритные огни левого борта |
| Фонари освещения номерного знака | ||
| Плафон освещения багажника | ||
| Подсветка приборов и клавиш | ||
| F11 | 5A | Задние противотуманные огни |
| F12 | 10A | Ближний свет правого борта |
| F13 | 10A | Ближний свет левого борта |
| Регулятор электрокорректора фар (в вариантном исполнении) | ||
| F14 | 20A | Центральный блок кузовной электроники: |
| (Очиститель ветрового стекла) (в вариантном исполнении) | ||
| Омыватель ветрового стекла | ||
| Очиститель ветрового стекла | ||
| Подрулевой переключатель стеклоочистителей | ||
| F15 | 10A | Очиститель заднего стекла |
| Омыватель заднего стекла | ||
| F16 | РЕЗЕРВ | |
| F17 | РЕЗЕРВ | |
| F18 | РЕЗЕРВ | |
| F19 | РЕЗЕРВ | |
| F20 | РЕЗЕРВ | |
| F21 | 15A | Электродвигатель топливного насоса |
| F22 | 7.5A | Выключатель сигнала торможения |
| Сигналы торможения | ||
| Дополнительный сигнал торможения | ||
| Контроллер антиблокировочной системы тормозов/ Контроллер системы курсовой устойчивости | ||
| Контроллер АМТ (в вариантном исполнении) | ||
| F23 | 5A | Комбинация приборов |
| Диагностический разъем | ||
| F24 | 10A | Реле звукового сигнала К8 |
| Звуковой сигнал | ||
| F25 | 15A | Патрон для подключения дополнительных потребителей в салоне |
| F26 | 5A | Терминальный блок «ЭРА-ГЛОНАСС» |
| F27 | 10A | Противотуманная фара правого борта (в вариантном исполнении) |
| F28 | 10A | Противотуманная фара левого борта (в вариантном исполнении) |
| F29 | 15A | Обогрев передних сидений (в вариантном исполнении) |
| F30 | 10A | Аудиосистема |
| F31 | 10A | Центральный блок кузовной электроники: (Указатели поворотов; Питание блока кузовной электроники) (в вариантном исполнении) |
| F32 | 30A | Центральный блок кузовной электроники: (Электростеклоподъемники; Замки дверей и багажника; Датчик дождя; Плафон освещения вещевого ящика; Плафон освещения багажника; Блок освещения салона; Дневные ходовые огни) (в вариантном исполнении) |
| F33 | 5A | Модуль двери водителя |
| F34 | 7.5A | Муфта компрессора кондиционера (в исполнении с кондиционером или климатической установкой) |
| Контроллер системы автоматического управления климатической установкой (в вариантном исполнении) | ||
| F35 | 15A | Контроллер автоматической коробки передач (в вариантном исполнении) |
| Привод управления автоматической коробкой передач (в вариантном исполнении) | ||
| F36 | 15A | Аварийная сигнализация |
| F37 | 15A | Выключатель привода замка багажника |
| Блок управления системой блокировки дверей | ||
| 5A | Выключатель привода замка багажника | |
| F38 | 10A | Дневные ходовые огни |
| F39 | 15A | Патрон для подключения дополнительных потребителей в багажнике |
| F40 | 10A | К разъему светотехники прицепа |
| F41 | 50A | Обогрев ветрового стекла (в вариантном исполнении) |
| F42 | 30A | Обогрев наружных зеркал (в вариантном исполнении) |
| Обогрев заднего стекла | ||
| F43 | 50A | Контроллер АМТ (в вариантном исполнении) |
| F44 | 30A | Электровентилятор отопителя |
| Контроллер системы автоматического управления климатической установкой (в вариантном исполнении) | ||
| F45 | 30A | Электростеклоподъемники передних дверей |
| F46 | РЕЗЕРВ |



Расчет его номинала при установке дополнительного оборудования
При установке дополнительного оборудования часто бывает необходимым изменить номинал предохранителя в цепи питания. Для расчета необходимо иметь данные о мощности устройства или его сопротивлении. Например, подключая дополнительный источник освещения в виде лампы мощностью 60 Ватт, необходимо воспользоваться формулой:
P=U*I, где
- Р – мощность лампы,
- U – напряжение бортовой сети (12 Вольт),
- I – ток в цепи.
Из формулы следует:
I = P/U = 60/12 = 5 Ампер.
То есть при установке дополнительной лампы необходимо номинал предохранителя в цепи увеличить приблизительно на 5 Ампер, с учетом запаса по току 50%, необходимо выбрать 7,5 Ампер. Если по цепи устанавливается две лампы, тогда номинал умножается на 2, получается 15 Ампер.
Если мощность устройства неизвестна, измеряется его сопротивление. Измерение следует производить хорошим мультиметром, так как китайские имеют большую погрешность, особенно, при измерении малых сопротивлений. Например, устанавливая пресловутый электрический подогреватель воздуха в салоне, измерения показали сопротивление R равным 0,4 Ом. Ток определяется по закону Ома.
I = U/R = 12/0,4 = 30 Ампер
Если включать в разъем прикуривателя только обогреватель, с учетом запаса номинал предохранителя должен быть не менее 40 Ампер.
Видео — выбор качественных автомобильных предохранителей, их проверка на целостность, расчет номинала:
Следует учитывать, что обычно при расчете площади сечения проводника, принимается за максимальный ток на 1 кв.мм сечения проводника максимальный ток 4 Ампера. Таким образом, площадь сечения провода, идущего к разъему прикуривателя должна быть больше 30/4 = 7,5 кв.мм. Ближайшее стандартное сечение – 8 кв.мм. (наверняка там стоит провод сечением не более 6 кв.мм.) Если во время работы обогревателя захочется прикурить (посредством двойника разъема), ток может увеличиться, а это чревато перегоранием предохранителя, еще хуже, воспламенением проводки.
Если допоборудование запитывается от блока предохранителей, также необходимо увеличивать номинал мощного предохранителя, который обслуживает данный блок. Он обычно расположен под капотом либо в багажнике, если там расположена аккумуляторная батарея.
Схема реле Лада Калина 2
Указан набор реле для максимальной комплектации исполнения «люкс» (в зависимости от набора опций отдельные реле из данного набора в комплектации «Норма» могут не использоваться).
| Номер | Сила тока* | Комплектация «Стандарт» | Комплектация «Норма» и «Люкс» |
| К1 | 50А | Разгрузочное реле | |
| К2 | 30А | Дополнительное реле стартера | |
| К3 | 30/40А | Реле стеклоочистителя | Реле электровентилятора охлаждения радиатора |
| К4 | 30А | Реле электровентилятора охлаждения радиатора | |
| К5 | 30А | Реле указателей поворота | Реле муфты компрессора кондиционера |
| К6 | 30А | Реле электростеклоподъемников | Реле обогрева заднего стекла |
| К7 | 20А | Реле дальнего света фар | |
| К8 | 20А | Реле звукового сигнала | |
| К9 | 20А | Реле ближнего света фар | |
| К10 | -/20А | Резерв | Реле света заднего хода (в комплектациях с АКПП) |
| К11 | 20А | Главное реле ЭСУД | |
| К12 | 20А | Реле топливного насоса | |
| К13 | 20А | Реле обогрева сидений | |
| К14 | 30/70А | Реле аварийной сигнализации | Реле обогрева ветрового стекла |
| К15 | 30А/- | Реле обогрева заднего стекла | — |
| К16 | 30А/- | Реле аварийной сигнализации дополнительное | — |
* — первое значение для комплектации «стандарт», второе для «норма» и «люкс».
Реле, расположенные в монтажном блоке салона автомобиля с функцией «ЭРА-ГЛОНАСС» (в вариантном исполнении):
| # | Номинал | Назначение реле |
| K1 | 50A | Разгрузочное реле выключателя зажигания |
| K2 | 30A | Дополнительное реле стартера |
| K3 | 30A | Реле очистителя ветрового стекла (в вариантном исполнении) / Реле автозапуска |
| K4 | 30A | Реле электровентилятора радиатора максимальной скорости (в вариантном исполнении) |
| K5 | 30A | Реле поворотов и аварийной сигнализации (в вариантном исполнении) |
| K6 | 30A | Реле обогрева заднего стекла |
| K7 | 20A | Реле дальнего света фар |
| K8 | 20A | Реле звукового сигнала |
| K9 | 20A | Реле ближнего света фар |
| K10 | 20A | Реле муфты компрессора кондиционера (в исполнении с кондиционером или климатической установкой) |
| K11 | 20A | Главное реле ЭСУД |
| K12 | 20A | Реле топливного насоса |
| K13 | 20A | Реле обогрева сидений (в вариантном исполнении) |
| K14 | 70A | Реле обогрева ветрового стекла (в вариантном исполнении) |
| K15 | 20А | Реле включения аварийной сигнализации |
| K16 | 30А | Реле питания аварийной сигнализации/реле включения лампы заднего хода (в вариантном исполнении) |
| K17 | 30А | Реле питания электростеклоподъемников/реле вентилятора радиатора в режиме автозапуска |
| K18 | 30А | Реле электровентилятора радиатора минимальной скорости (в вариантном исполнении) |
Как проверить проводку
Провести диагностику электрооборудования можно с помощью вольтметра, омметра или мультиметра, специальных диагностических стендов. Проводится и компьютерная диагностика, во время которой происходит считывание кодов ошибок и основных показателей бортовой сети машины. Для самостоятельной проверки цепей и поиска неисправностей электрики достаточно одного мультиметра или сигнальной лампы.
Используем мультиметр
Предохранители в бортовой сети считаются наиболее «слабым» звеном в плане долговечности. При нештатных ситуациях (например, при коротком замыкании) предохранительные элементы «берут удар на себя», защищая остальную электрику и электрооборудование машины. Предохранители восстановлению не подлежат и во время ремонта заменяются.
Проверяем напряжение
Перед тем, как проверить проводку в автомобиле, необходимо замерить напряжение электрической цепи между отдельными компонентами и электрооборудованием. Прозвонить можно так:
- Установить мультиметр в режим вольтметра.
- Подсоединить один щуп измерительного прибора к «минусу» аккумуляторной батарее либо к массе машины.
- Второй щуп подсоединить к подающему проводу цепи.
Если на дисплее прибора появляется определенное значение, то на данном участке цепи электрической схемы есть напряжение. Можно сравнить значения с требуемыми в соответствии с руководством по эксплуатации автомобиля.
Ищем короткое замыкание
После измерения напряжения выполняют поиск короткого замыкания цепей. Для этого потребуются либо мультиметр, либо сигнальная лампа. Что касается лампы, то при исправной проводке и отсутствии замыкания она не должна загораться.
Замыкание проводки, как и отсутствие напряжения (нулевое или бесконечное сопротивление в электрической цепи), свидетельствует о неисправностях в одном из 2-х компонентов:
- Потребителя – электрооборудования, устройств, предохранителей, блоков.
- Проводки – обрыв или замыкание проводов, плохие контакты проводки в месте соединения с потребителем.
Проверку на замыкание можно выполнить и в режиме вольтметра. Для этого на проверяемом участке необходимо извлечь все предохранители, подключить щуп к клеммам предохранительного элемента. Значение «0» на экране свидетельствует о наличии замыкания в цепи. Если при попытке пошевелить провода в цепи появляется напряжение, значит, замыкание вызвано именно проводкой, потребуется замена проводов.
Проверяем качество заземления
В автомобилях используется однопроводная схема электропроводки – это означает, что «минус» идет на массу (кузов) машины. Однако коррозия металлических деталей, их окисление и разрушение, «разбалтывание» приводят к нарушению заземления и, как следствие, к нарушению контактов бортовой цепи.
Читать дальше: Трансмиссионное масло для мотоблока нева мб 2
Проверка заземления, как и других элементов электрики авто, осуществляется с помощью мультиметра. Порядок действий следующий:
- Отключение АКБ.
- Подсоединение одного щупа мультиметра к кузову (металлическим деталям) машины.
- Подсоединение второго щупа к заземляющему элементу или месту соединения проводки.
Выведенное на экран прибора значение следует сравнить с заводскими данными (руководство по эксплуатации авто). Если значения сильно расходятся, то необходимо провести восстановление заземления – зачистить металл в месте соединения, проверить надежность крепления.
Проверяем целостность цепи
Соединение проводов в электрической цепи автомобилей – одно самых уязвимых мест во всей электрике машины. Помимо разрушения изоляции, нарушения целостности и обрывов в местах соединения здесь также нередко возникает окисление контактов. Определить дефекты можно не только с помощью измерительного прибора, но и визуально. Если целостность цепи нарушена именно в месте соединения, то потребуется пайка проводов с разъемами. В противном случае необходимо найти поврежденный участок, для чего понадобятся сигнальная лампа или мультиметр.
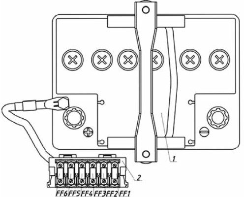
Монтажный блок предохранителей и реле в моторном отсеке Лада Калина 2
Указан набор предохранителей для исполнения «люкс». В других исполнениях отдельные предохранители из данного набора могут не использоваться.
| № предохранителя | Сила тока | Защищаемые цепи |
| FF1 | 50А | Обогреватель ветрового стекла |
| FF2 | 60А | Генератор |
| FF3 | 60А | Генератор |
| FF4 | 40А (без климатической установки — 30А) | Электровентилятор охлаждения радиатора |
| FF5 | 50А | Электромеханический усилитель рулевого управления |
| FF6 | 40А | Блок управления антиблокировочной системой тормозов |
Предохранители, расположенные в блоке предохранителей моторного отсека автомобиля с функцией «ЭРА-ГЛОНАСС» (в вариантном исполнении):
| # | Номинал | Защищаемая цепь |
| FF1 | 60A | Генератор |
| FF2 | 60A | Генератор |
| FF3 | 30А | Электровентилятор охлаждения радиатора |
| 40A | Электровентилятор охлаждения радиатора (в исполнении с кондиционером или климатической установкой) | |
| FF4 | 40A | Контроллер антиблокировочной системы тормозов / Контроллер системы курсовой устойчивости |
| FF5 | 25А | Контроллер антиблокировочной системы тормозов / Контроллер системы курсовой устойчивости |
| FF6 | 50А | Контроллер электроусилителя рулевого управления |
Внимание!
Схема реле и предохранителей может отличаться в зависимости от комплектации и даты выпуска автомобиля.
Toyota Vista SV35, 4WD Full Time › Бортжурнал › Проверка предохранителей мультиметром
День сегодня не задался. Поехал я по делам, далековасто от дома. Как только дела все сделал, сел в машину «чик-чик», все, приехали. Машина не заводится. Стартер не работает, нет такого «вжж, вжж». Слышу только, как вентилятор работает, панельная приборка горит, бензонасос слышу, пытается качать.
Зачистил клеммы, т.к. было один раз такое же из за того, что клеммы окислились. Не помогло. Далее смотрел предохранители. В машине посмотрел, вроде основные целые.
Схема салонных предохранителей:
Схема подкапотных предохранителей:
Проверил предохранители, вроде все целые на вид, т.к. помню, что если предохранитель умер, то будет вот такая картина:
Думаю, что же делать, неужели, где-то проводка в торпеде перегорела или контакт, какой. Звоню корефану, т.к. помню у него на днях тоже такая же хрень приключилась. Он говорит ещё раз проверить предохранитель starter’a. Он находится в подкапотном пространстве, под № 6, на 10A. Я проверил, целый. Решил заменить его на другой который лежал в бардачке, вауля — завелась машинка родимая =)
Так что этот способ определения работоспособности предохранителя не всегда хорош.
Пришел домой решил померить его мультиметром. Итак, мерить надо за усики сверху, это обязательно.
Глушняк, помер предохранитель.
Принцип работы
Предохранители работают в двух режимах:
- В штатном режиме;
- В аварийном режиме.
Первый режим предполагает нормальные условия. При нормальном функционировании сети и конкретного прибора температура вставки имеет установившееся значение. Вся теплота, выделяемая устройством, отдается в окружающую среду. Помимо этого, нагреваются также контакты и другие части прибора. Температура нагревания не должна превышать нормальных значений штатной работы.
Второй режим — резкий скачок силы тока в сети. Чтобы время плавления вставки электропредохранителя сократилось, сам элемент изготавливается в виде пластинки с особыми вырезами, которые уменьшают его сечение на некоторых участках корпуса. На узких участках концентрируется большая теплота, чем на широких.
При возрастании силы тока в случае замыкания выделение теплоты превышает допустимый уровень и теплоотводом обычно пренебрегают. Элемент предохранителя плавится и перегорает и сила тока не может возрасти больше допустимого значения.
Важно! В процессе плавления возникает так называемая электрическая дуга, которая в современных элементах гасится в ограниченном патроне электропредохранителя
Снятие крышки
Один из наиболее сложных моментов ремонта — разборка устройства. Чтобы разобрать утюг Vitek и модели других производителей, нужно снять крышку с задней панели. На ней находятся винты, которые следует открутить, а также защелки, которые нужно отжать. Открутив все крепежные элементы, снимают крышку, используя нож или пластиковую карту.
Под крышкой находится клеммная коробка, удерживающая электрический шнур. Если неполадка в нем, то разборку можно на этом закончить. Если шнур исправен, то устройство разбирают дальше. В утюгах Филипс и Tefal под крышкой расположены болты. Их и другие крепежи откручивают. Затем снимают регулятор температуры и кнопку подачи пара, потянув их вверх. Иногда они фиксируются защелками, их следует отжать отверткой.
Почему не работает прикуриватель
Возможно при слишком большой нагрузке от компрессора, зарядного устройства или разветвлителя прикуривателя выбило предохранитель. Это одна из самых распространенных и легкоустраняемых проблем. Вам потребуется открыть крышку отсека с предохранителями слева от руля и заменить перегоревший. Как правило используется пред. на 15 или 20А обычный флажковый.
Еще одной часто распространенной причиной неработоспособности прикуривателя является разгибание внутри него металлических усов-контактов. К примеру вы часто пользуетесь зарядным устройством, или разветвлителем. Из-за этого контакты внутри прикуривателя разгибаются. Для того, чтобы он снова заработал, необходимо их просто подогнуть. Делать это необходимо аккуратно с помощью тонкой плоской отвертки не замыкая контакты, иначе выбьет предохранитель.
Если вы решили полностью заменить прикуриватель, потребуется демонтировать консоль от ручника до приборной панели с кожухом КПП, только после этого можно будет снять прикуриватель.
Ищем самостоятельно причину, по которой плавают холостые обороты на ВАЗ 21214
Первое на что рекомендую обратить внимание — датчик массового расхода воздуха (ДМРВ или расходомер). Как проверить ДМРВ читайте в этой статье
Вторым «подозреваемым» обычно становится регулятор холостого хода (РХХ), если после проверки расходомера вы ничего не обнаружили проверьте РХХ. После этого осмотрите проводку датчика скорости (ДС). Как проверить и заменить ДС читаем тут. Следующий датчик, который может вызвать плавающие холостые обороты — датчик положения коленвала (ДПКВ). Сам датчик вряд ли вышел из строя, скорее всего причина в проводке или фишке. Если не нашли ничего странного в проводке проверяем ДПКВ. Дроссельный узел также часто может влиять на обороты холостого хода, поэтому не будет лишним проверить ДПДЗ (датчик положения дроссельной заслонки), а также саму дроссельную заслонку, возможно она нуждается в очистке. Как почистить дроссельную заслонку писал здесь. Свечи, высоковольтные провода и модуль зажигания могут быть причиной проблемы с холостыми, поэтому первым делом проверьте высоковольтные провода, а после и свечи зажигания. Плавают холостые обороты двигателя нередко по причине неисправного электромагнитного клапана холостого хода. Для проверки этого клапана снимите с него питание, затем включите зажигание и подключите провод питания к контакту на клапане. При этом вы должны услышать отчетливый щелчок, если этого не произошло подсоедините проводок к контакту, который соединен с «плюсовой» клеммой аккумулятора. Если даже при этом вы не услышали щелчок, можно сделать вывод, что клапан неисправен. Если щелчок был, но обороты двигателя плавают как и прежде, проверьте его жиклер.
Среди прочего проверьте в каком состоянии находится воздушный фильтр, возможно его необходимо заменить. Убедитесь, что система зажигания работает как следует, а также отсутствует подсос воздуха.
Если вышеописанные советы и рекомендации не дали результата или вы не уверены, в том, что сможете осилить подобную работу — обратитесь за помощью к профессионалам, специалисты быстро и точно установят источник неисправности и стабилизируют плавающие холостые обороты двигателя.
Спасибо за внимание, буду рад, если кому-то помогло. Если вам известны другие причины или способы проверки, вы смело можете дополнить эту статью используя форму комментариев
До новых встреч, берегите себя и свой автомобиль.
Если вы нашли ошибку, пожалуйста, выделите фрагмент текста и нажмите Ctrl+Enter.
Движок плохо держит холостые обороты или глохнет Инжектор
Естественно, при этом учитываются внешние факторы — скорость, обороты двигателя, температура — и заданные ограничения по составу выхлопных газов. А еще обороты могут гулять из-за ваккумника, но скорее всего это не тот случай. Этого же эффекта можно добиться и простым нажатием педали на большую часть ее хода.
Читать дальше: Хундай туксон 2008 дизель отзывы владельцев
Завожу,работает ровно а если проехаться то начинает глючить,обороты держатся и не падают,пока не заглушишь и снова не пустишь
Важно лишь помнить, что у любого узла есть свой ресурс, со временем себя исчерпывающий
Сейчас сижу жду машинку и ломаю голову что может быть это за звоночек, в нете причин.
Данные устройства, как бы увеличивают чувствительность педали и не более того. Но ограничение момента никуда не денется, заслонка будет открываться так же медленно и плавно, в зависимости от заложенного алгоритма программного обеспечения.
В этом заключается некоторое лукавство производителей данных устройств.
Хорошо это или плохо? На автомобилях с карбюраторными двигателями водитель, нажимая на педаль акселератора, практически управляет процессом подачи топливовоздушной смеси в цилиндры двигателя. Каждое перемещение педали через тросовый или рычажный механический привод пропорционально передается на дроссельную заслонку карбюратора.
Поворот дроссельной заслонки вокруг своей оси вызывает изменение проходного сечения диффузора. Изменение проходного сечения приводит к изменению скорости и объема воздушного потока, проходящего через диффузор.
От скорости и объема воздушного потока непосредственно зависит количество топлива, поступающего через распылители карбюратора, а значит, и состав топливовоздушной смеси, попадающей в цилиндры двигателя. С появлением систем непосредственного впрыска топлива управление процессом смесеобразования было передано электронике.
За водителем осталась только одна функция — управление положением дроссельной заслонки, а значит, и управление наполнением цилиндров. Электроника, основываясь на положении дроссельной заслонки и количестве поступающего воздуха, управляет моментом зажигания и количеством топлива, подающегося в цилиндры.
Нечему гореть
Если стартер вращается и искры летят, вашапроблема невозможности запуска могут быть связаны с топливной системой. Если ваш автомобиль впрыском топлива, есть ряд подсистем, которые могли бы быть виновником. Это серьезная диагностическая работа чтобы понять это, но есть некоторые вещи, которые вы можете проверить в гараже и может сэкономить вам деньги исключая поездку в ремонтную мастерскую.
Вот то что нужно проверить проверить:
Электрические соединения:
Есть много электрических соединений в системе впрыска топлива. Каждая топливная форсунка имеет разъем сверху. Есть соединения на воздушной стороне забора и на головках цилиндров. В общем, вы должны проверить каждое электрическое соединение которое можно найти под капотом, чтобы убедиться что контакт есть.
Топливный насос и реле:
Чтобы проверить топливный насос, вы можете сделать тест давления топливной системы — если у вас есть оборудование. Поскольку большинство из нас не имеют такого рода вещи, мы сначала проверяем электрические соединения. Проверьте положительную сторону топливного насоса с тестером цепи. Будьте уверены, что ключ находится в положении «On».Если есть ток, перейдите к следующему шагу. Если нет, вы должны проверить предохранитель. Если предохранитель цел, ваша проблема реле топливного насоса.
Топливный фильтр:
Если топливный насос работает правильно, а топливо все еще не попадает в двигатель, может быть засорен топливный фильтр. Вы должны заменить топливный фильтр каждые 30000 км или около того в любом случае, так что если вы подозреваете что он может быть забит замените его.
Есть ещё много причин отказа двигателя, они будут описаны в ближайшее время.
Источник


