Замена аккумулятора в Audi Q5 — важная процедура, которую можно выполнить самостоятельно. В статье рассмотрим процесс замены, необходимые инструменты, пошаговые инструкции и советы по безопасной работе с электрической системой автомобиля. Умение заменить аккумулятор сэкономит деньги и поможет избежать неприятностей с разрядкой в дороге.
Где находится и как поменять аккумулятор на ауди Q5?
Замена аккумулятора в Audi Q5 своими руками — задача, требующая определенных навыков и знаний. Эксперты отмечают, что перед началом работы важно ознакомиться с инструкцией по эксплуатации автомобиля, чтобы избежать повреждений. В первую очередь, необходимо обеспечить безопасность: отключить зажигание и снять клеммы с аккумулятора, начиная с отрицательной.
Специалисты рекомендуют использовать только качественные аккумуляторы, соответствующие заводским характеристикам. При установке нового аккумулятора важно следить за правильной полярностью и надежностью соединений. Также стоит обратить внимание на состояние клемм и проводов, так как коррозия может привести к проблемам в будущем.
Несмотря на то, что процесс замены не является слишком сложным, эксперты предостерегают от самовольного вмешательства, если у владельца нет достаточного опыта. В таких случаях лучше обратиться к профессионалам, чтобы избежать возможных ошибок и обеспечить надежную работу автомобиля.

Процедура замены поэтапно
Процесс замены аккумулятора можно разделить на четыре ключевых этапа:
- Извлечение аккумулятора из Audi Q5.
- «Прописка» новой батареи. Этот шаг необходим для обновления цикла зарядов и разрядов в системе автомобиля, а также для согласования мощности генератора с емкостью новой батареи.
- Активация функции подъема и опускания стеклоподъемников.
- Сброс ошибки «пониженное напряжение» для всех блоков системы.
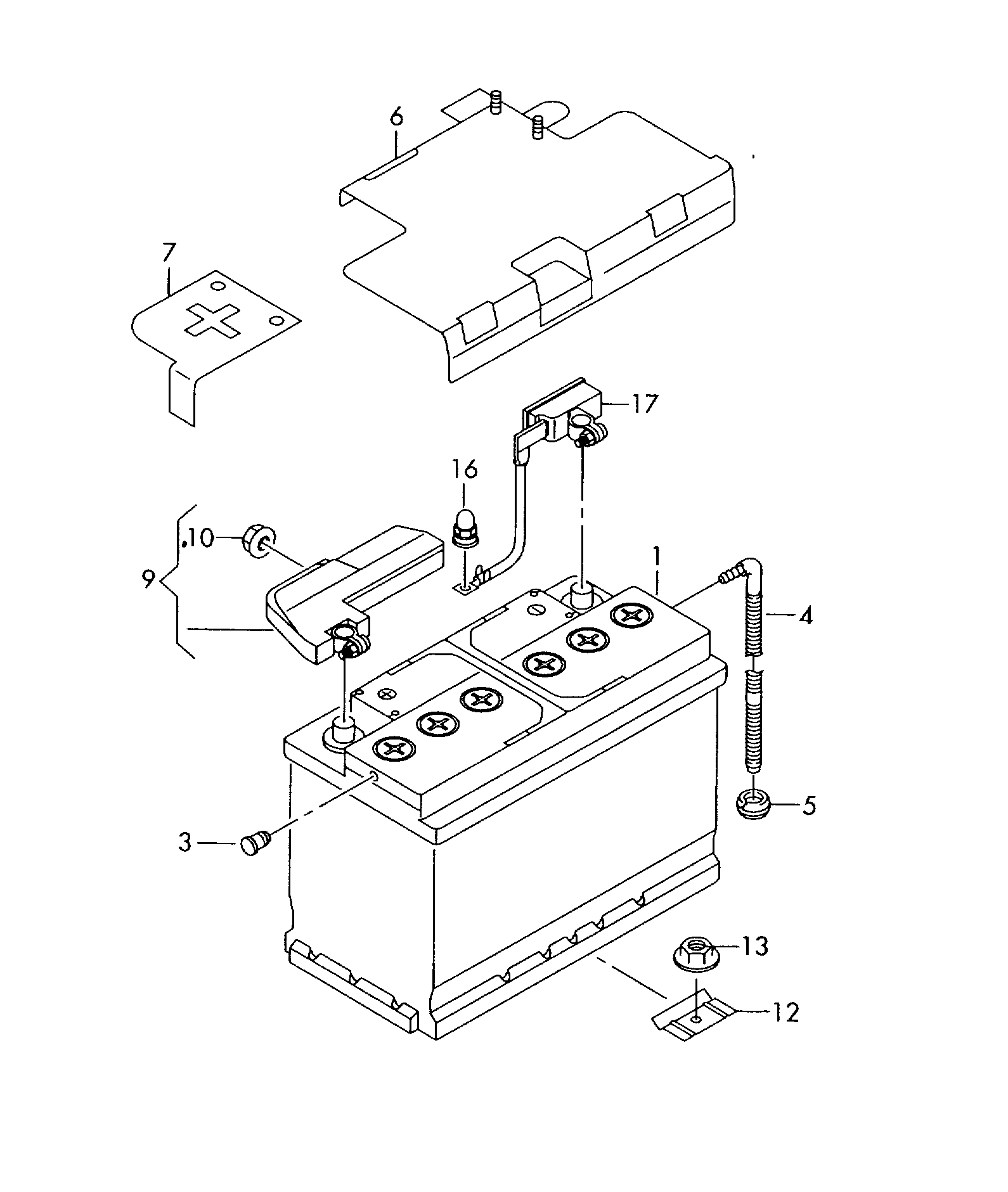
Как же выполнить замену аккумулятора на Audi Q5 самостоятельно? Важно соблюдать меры безопасности при работе с аккумулятором. Необходимо помнить, что замена аккумулятора на Audi Q5 может привести к травмам или ожогам. Существуют риски несчастных случаев и даже возгораний. Рекомендуется использовать защитные очки. Аккумулятор нельзя наклонять, чтобы избежать вытекания электролита. Батарея расположена под полом в багажнике автомобиля. Перед началом работ отключите все устройства, потребляющие электроэнергию, и не забудьте выключить систему защиты от угона.
Выключите двигатель и извлеките ключи из зажигания.
Снимать аккумулятор при включенном зажигании и работающем двигателе строго запрещено!
Сначала отсоедините клемму «минус», затем «плюс». При подключении новой батареи следуйте той же последовательности в обратном порядке: сначала клемма «плюс», затем «минус». Будьте предельно внимательны, чтобы не перепутать их местами, так как это может привести к возгоранию. Не оставляйте аккумулятор под прямыми солнечными лучами. Шланг, отводящий газы, должен быть всегда надежно прикреплен к батарее.
После отсоединения клемм отключите шланг, отводящий газы, и извлеките старую батарею. Установите новую аккумуляторную батарею, следуя обратной последовательности. Это и есть полный ответ на вопрос, как самостоятельно заменить аккумулятор на Audi Q5.
| Этап замены | Описание действия | Необходимые инструменты/материалы |
|---|---|---|
| Подготовка | 1. Приобретите новый аккумулятор, соответствующий спецификациям Audi Q5 (размер, емкость, пусковой ток). 2. Убедитесь, что у вас есть код магнитолы (если требуется). 3. Подготовьте рабочее место: ровная поверхность, хорошее освещение. |
Новый аккумулятор, код магнитолы (при необходимости), фонарик |
| Отключение старого аккумулятора | 1. Откройте багажник и найдите аккумулятор (обычно под полом). 2. Отключите минусовую клемму (черный провод) с помощью ключа. 3. Отключите плюсовую клемму (красный провод). 4. Отсоедините вентиляционную трубку (если есть). |
Гаечный ключ (обычно на 10 или 13 мм), перчатки, защитные очки |
| Извлечение старого аккумулятора | 1. Открутите крепежную планку или болт, удерживающий аккумулятор. 2. Аккуратно извлеките старый аккумулятор. Он тяжелый, будьте осторожны. |
Гаечный ключ, возможно, торцевой ключ |
| Установка нового аккумулятора | 1. Установите новый аккумулятор на место. 2. Закрепите его крепежной планкой/болтом. 3. Подсоедините вентиляционную трубку (если есть). |
Гаечный ключ |
| Подключение нового аккумулятора | 1. Подсоедините плюсовую клемму (красный провод). 2. Подсоедините минусовую клемму (черный провод). 3. Убедитесь, что все клеммы надежно затянуты. |
Гаечный ключ |
| Завершение и проверка | 1. Закройте багажник. 2. Запустите двигатель. 3. Проверьте работу электроники (магнитола, стеклоподъемники, свет). 4. При необходимости введите код магнитолы. 5. Сбросьте ошибки (если есть) с помощью диагностического сканера (рекомендуется). |
Диагностический сканер (VCDS или аналогичный), инструкция по вводу кода магнитолы |
Интересные факты
Вот несколько интересных фактов о замене аккумулятора в Audi Q5 своими руками:
-
Специфические размеры и типы аккумуляторов: Audi Q5 использует аккумуляторы определенного размера и типа, обычно это AGM (Absorbent Glass Mat) или EFB (Enhanced Flooded Battery). При замене важно выбирать аккумулятор, который соответствует спецификациям производителя, чтобы избежать проблем с электроникой и системой зарядки.
-
Сброс системы после замены: После замены аккумулятора в Audi Q5 может потребоваться сброс некоторых систем, таких как система управления двигателем и системы комфорта. Это связано с тем, что при отключении аккумулятора могут сбрасываться настройки. Использование диагностического оборудования может помочь в этом процессе.
-
Безопасность и предостережения: При замене аккумулятора важно соблюдать меры безопасности, такие как отключение отрицательной клеммы первым и подключение ее последним. Также стоит помнить, что в некоторых моделях Audi Q5 может быть установлена система защиты от кражи, которая может потребовать повторной активации после замены аккумулятора.

Некоторые особенности работы аккумулятора
В автомобиле Audi Q5 имеется система, отвечающая за распределение энергии. Если на приборной панели загорится индикатор и появится сообщение «Низкий заряд батареи: Батарея будет заряжаться во время движения», это сигнализирует о недостаточном заряде аккумулятора. При движении индикатор должен погаснуть. Если он загорается и сразу же гаснет, это указывает на нормальную зарядку батареи в процессе поездки. Однако, если лампочка остается включенной, необходимо срочно обратиться в сервис для проверки аккумулятора.
Теперь необходимо активировать автоматический режим подъема и опускания стеклоподъемников. В режимах «радио» или «MMI*» выберите нужные окна для открытия. Для этого нажмите кнопку «car», затем выберите «окна» (windows) и далее «удобное открытие» (convenience open). Чтобы стекла открывались автоматически, нужно включить функцию работы передних и задних дверей.
Также важно провести синхронизацию запасного и дополнительного ключей для дистанционного управления. Вставьте ключ, заведите автомобиль, затем заглушите его и извлеките брелок из замка зажигания. Это довольно просто. Удалите из памяти сообщения о низком напряжении.
В автомобиле предусмотрена система диагностики аккумулятора. Эта функция следит за состоянием батареи, определяя напряжение, температуру и силу тока. Система предоставляет информацию о текущем состоянии и пусковой мощности аккумулятора.
При замене аккумулятора важно соблюдать правила безопасного обращения с ним и не пренебрегать рекомендациями, изложенными в руководстве.
После прочтения статьи вам будет полезно посмотреть видео, если оно не отображается, обновите страницу: в ролике показано, как включить уровень заряда батареи в Audi Q5.
Проверьте состояние напряжения аккумулятора, чтобы избежать проблем с потерей мощности и запуском двигателя. Для этого не требуются никакие диагностические инструменты, такие как VCDS; все можно сделать через скрытое зеленое меню.
Советы по выбору нового аккумулятора для Audi Q5
При выборе нового аккумулятора для Audi Q5 важно учитывать несколько ключевых факторов, чтобы обеспечить надежную работу автомобиля и избежать возможных проблем в будущем. Ниже представлены основные рекомендации, которые помогут вам сделать правильный выбор.

1. Определите тип аккумулятора
Audi Q5 может использовать различные типы аккумуляторов, включая свинцово-кислотные и AGM (Absorbent Glass Mat). AGM аккумуляторы имеют ряд преимуществ, таких как более высокая устойчивость к глубокому разряду и возможность установки в любом положении. Убедитесь, что выбранный вами аккумулятор соответствует требованиям вашего автомобиля.
2. Проверьте размеры и крепления
Перед покупкой нового аккумулятора обязательно измерьте размеры старого аккумулятора и проверьте, чтобы новый аккумулятор соответствовал этим параметрам. Также обратите внимание на расположение креплений, чтобы обеспечить надежную фиксацию аккумулятора в отсеке.
3. Обратите внимание на емкость и пусковой ток
Емкость аккумулятора измеряется в ампер-часах (Ah) и определяет, сколько энергии он может хранить. Для Audi Q5 рекомендуется выбирать аккумуляторы с емкостью не менее 70 Ah. Пусковой ток (в амперах) также важен, так как он определяет, насколько легко аккумулятор сможет запустить двигатель в холодную погоду. Убедитесь, что пусковой ток нового аккумулятора соответствует или превышает параметры оригинального аккумулятора.
4. Учитывайте климатические условия
Если вы живете в регионе с холодным климатом, стоит обратить внимание на аккумуляторы, специально разработанные для низких температур. Они обеспечивают более надежный запуск двигателя в условиях холода. В теплых климатических условиях можно рассмотреть стандартные свинцово-кислотные аккумуляторы.
5. Изучите отзывы и репутацию производителя
Перед покупкой нового аккумулятора рекомендуется ознакомиться с отзывами других владельцев Audi Q5 и репутацией производителя. Известные бренды, такие как Varta, Bosch и Exide, часто предлагают надежные и качественные аккумуляторы, которые могут прослужить долго.
6. Проверьте гарантию
Обратите внимание на условия гарантии, предоставляемой производителем. Хороший аккумулятор должен иметь гарантию не менее 2-3 лет. Это даст вам уверенность в качестве продукта и защитит от возможных дефектов.
7. Сравните цены
Перед покупкой стоит сравнить цены на аккумуляторы в различных магазинах и онлайн-платформах. Иногда можно найти выгодные предложения или скидки, которые помогут сэкономить деньги. Однако не стоит экономить на качестве, выбирайте аккумуляторы, которые соответствуют всем вышеуказанным критериям.
Следуя этим рекомендациям, вы сможете выбрать подходящий аккумулятор для вашего Audi Q5, который обеспечит надежную работу автомобиля и долгий срок службы.
Вопрос-ответ
Могу ли я самостоятельно заменить аккумулятор Audi?
Стоит ли менять аккумулятор Audi самостоятельно или лучше обратиться за профессиональной помощью? Хотя замена аккумулятора Audi своими руками возможна, рекомендуется обратиться к профессионалам из-за сложности электрических систем Audi.
Нужно ли прописывать аккумулятор Audi Q5?
Я на сервисе недавно спрашивал у мастера: не возникает ли проблем при замене аккума? Ответ: нет, на Q5 прописывать не нужно.
Какой аккумулятор ставить на Audi Q5?
Что касается размера и емкости, аккумулятор на Ауди Q5 следует подбирать, опираясь на модификацию двигателя и год выпуска автомобиля. Ориентируйтесь на следующие характеристики: 353 х 174 х 190 мм (Д х Ш х В) на 95-100 Ач. Такие аккумуляторы подходят на авто с 3-литровым ДВС CDUD, а также с 2-литровыми CGLC и CMGB.
Нужно ли перепрограммировать аккумулятор Audi?
Более 10 миллионов транспортных средств, находящихся в эксплуатации сегодня, требуют определенного уровня «сброса» или регистрации после замены аккумулятора на НОВЫЙ, включая многие новые модели Audi.
Советы
СОВЕТ №1
Перед началом замены аккумулятора обязательно ознакомьтесь с руководством пользователя вашего автомобиля. В нем могут быть указаны специфические рекомендации и предостережения, касающиеся замены аккумулятора именно для вашей модели Audi Q5.
СОВЕТ №2
Обязательно используйте защитные перчатки и очки во время работы. Аккумуляторы содержат кислоты и могут выделять вредные газы, поэтому ваша безопасность должна быть на первом месте.
СОВЕТ №3
Перед снятием старого аккумулятора убедитесь, что все электроника автомобиля выключена. Это поможет избежать короткого замыкания и повреждения электрических систем вашего автомобиля.
СОВЕТ №4
После установки нового аккумулятора проверьте его крепление и убедитесь, что все клеммы надежно затянуты. Также рекомендуется проверить работу электроники и системы зарядки, чтобы убедиться, что все функционирует корректно.
